大发快三官网
今天是
,欢迎访问大发彩票-大发快三官网
繁体版
无障碍版
长者助手
English
网站支持IPV6
手机版
中国广州从化
关注 · 手机版
官方微博
官方微信
广州从化政府网
政务应用
智能问答
登录
AI语音搜索
搜索热词:
便民服务
医保
招商引资
招考
公积金
大发快三官网
Home
魅力大发快三
About Conghua
政务公开
Govemment Affairs
政务服务
E-services
互动交流
communication
营商环境
Business & Investment in conghua
工作机构
Govemment Agencies
您当前所在位置:
大发快三官网
>
政府机构
>
广州市规划和自然资源局大发快三官网 分局
>
土地登记结果公告
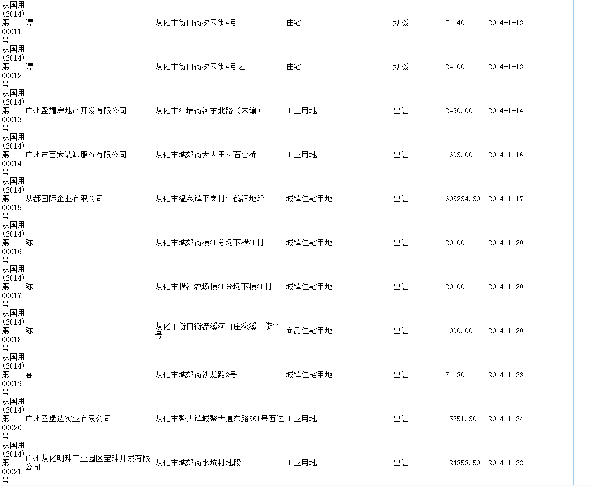
2014年1月《国有土地使用证》登记结果
2014年1月《国有土地使用证》登记结果
来源:
本网
发布时间:
2014-02-07 00:24
【
返回顶部
】
【
打印页面
】
【
关闭本页
】
浏览次数:
-
扫一扫在手机打开当前页
点击关闭
信易贷
扫一扫
加入信易贷平台
互联网+督查
扫一扫
添加“互联网+督查”小程序
穗好办
扫一扫
添加
“穗好办”
小程序
扫一扫
下载“穗好办”app
我要办
智能问答
粤省事
扫一扫
“粤省事”小程序
返回顶部